News
Reviews
Buyer's Guide
Videos
What's My Car Worth?
Events
Ask MOTORTRENDBeta
Return to Article
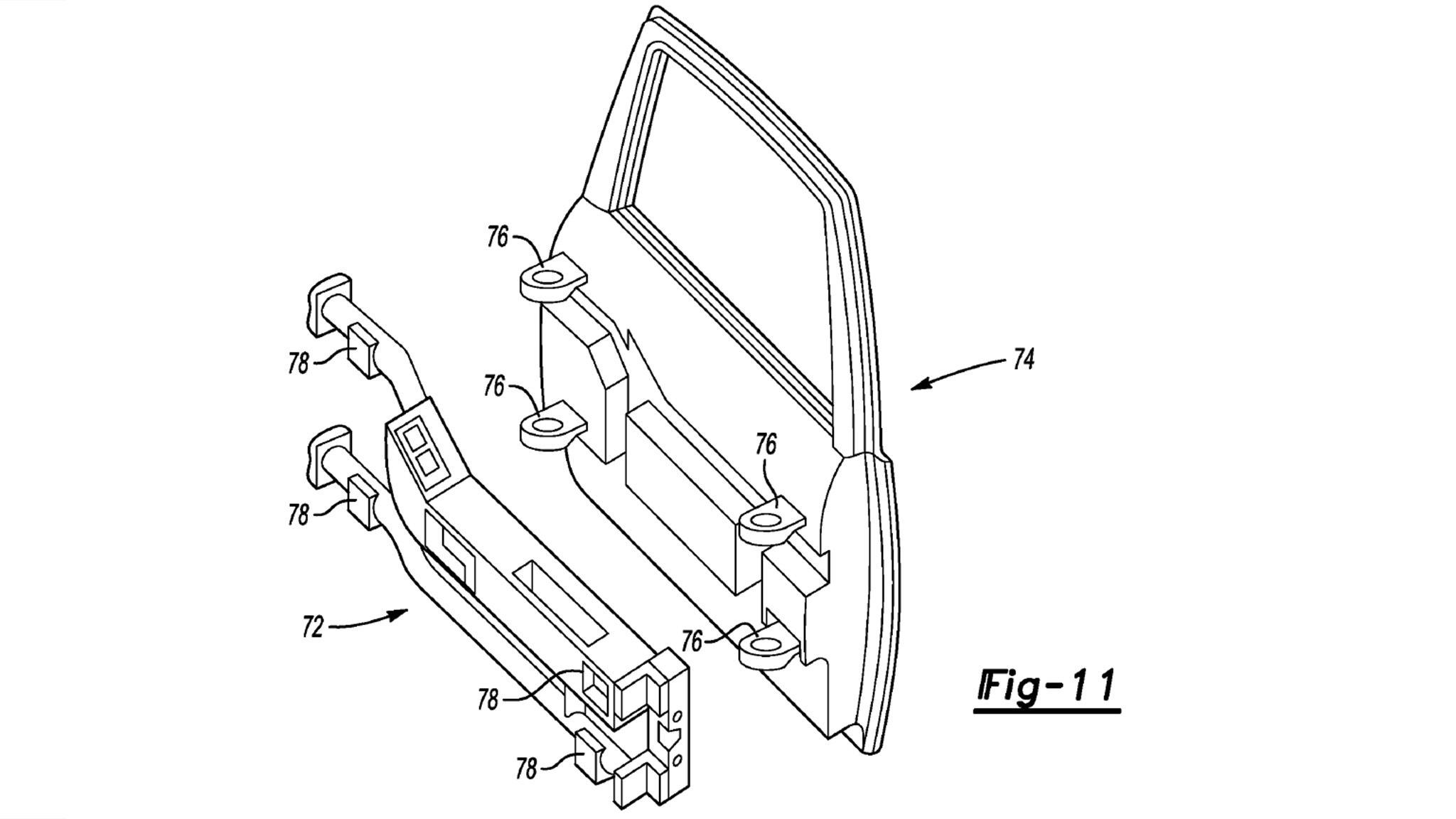
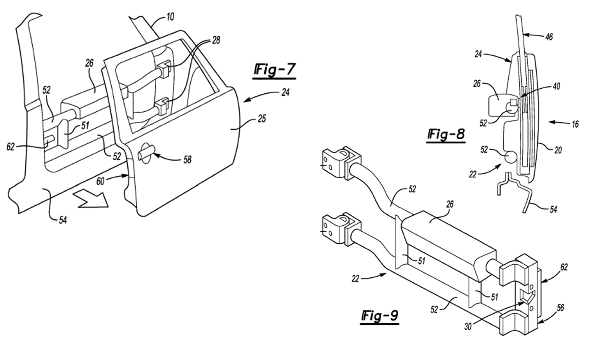
Patent shows different design for tube door conversion
(1 / 10)