New Details on the 2021 Ford Bronco's Removable Doors Emerge
Patent shows different design for tube door conversion
Last year, we unearthed a Ford patent detailing removable doors that could be further stripped down to a more minimalist set of tube doors. Since we'd recently heard that the Ford Bronco would come with removable doors and a removable roof like the Jeep Wrangler, we naturally speculated we were looking at a proposed design for Ford's upcoming off-road SUV. We still believe that's the case, but another patent discovered by enthusiast forum Bronco6g suggests the design has changed slightly.
0:00 / 0:00
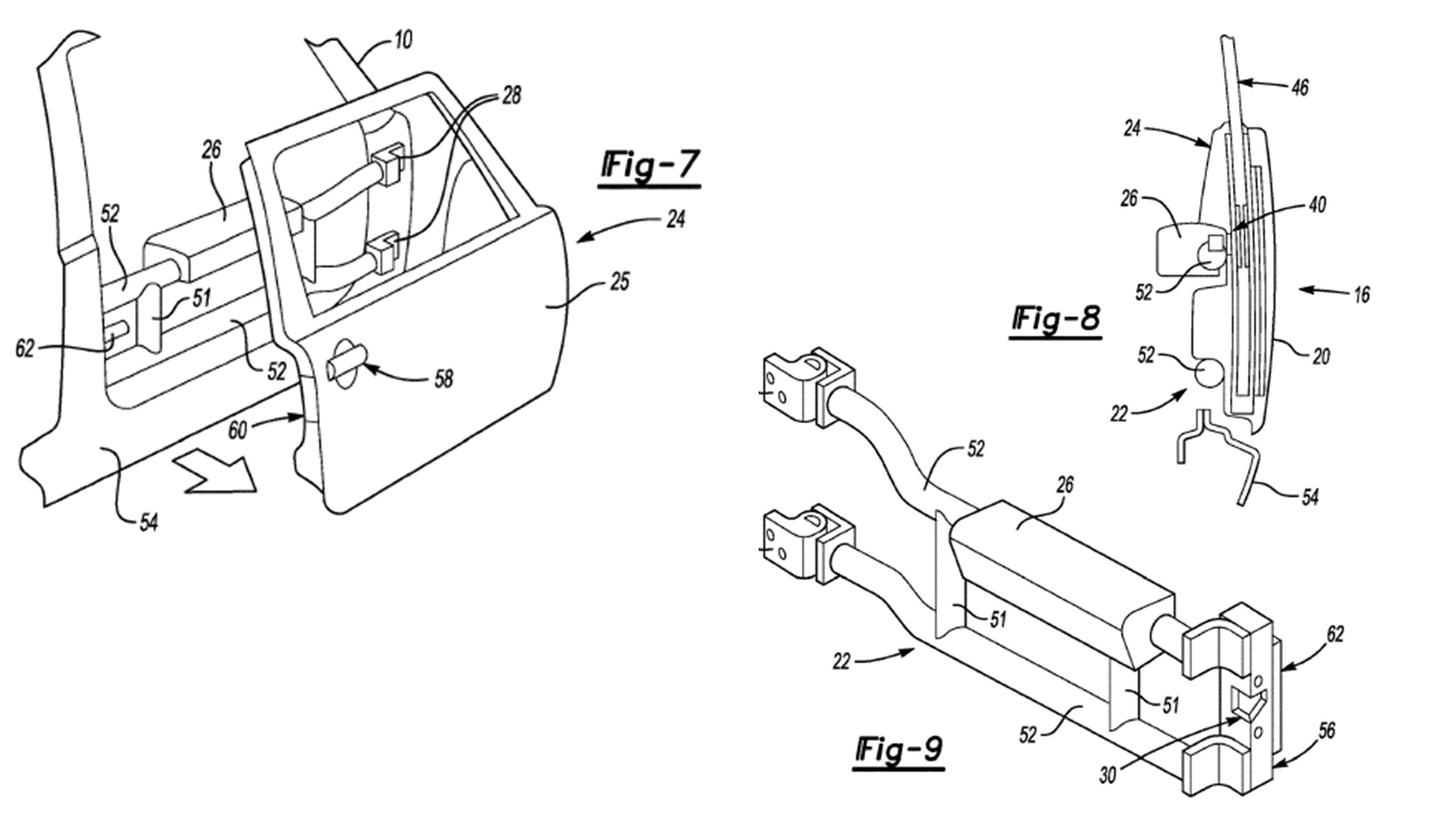
The first patent proposed a removable door with an impact beam that could also be removed and reattached to the vehicle. So instead of needing to carry or store an extra set of partial doors that you can use to improve crash safety when the full doors are off, you have multiple options with that single set of doors. And since the hinges are modular, you could use them to open and close both the regular doors and the beam-doors. How this new patent differs is in the way the door separates from the beams. Rather than having the tubes slide out of the door, the door skin and window assembly unsnap so they can be pulled off from the outside, apparently with the tube doors conveniently still attached to the body.
Where does this leave the mirrors, you ask? As we learned in yet another patent, the 2021 Ford Bronco might get exterior mirrors mounted on the A-pillars. But just in case, this patent leaves room for mirrors with a "coupling between a side view mirror mounted to the vehicle static structure and the outer door subassembly such that the side view mirror moves with the outer door subassembly when moved between open and closed positions." In other words, you'd have mirrors whether you have the tube doors or the full doors installed.
Are these the doors we'll see on the new 2021 Ford Bronco when it finally debuts this spring? We have a strong feeling the answer is yes. If so, the Bronco will have a leg up on its primary competition, the Jeep Wrangler, which comes with removable doors from the factory but only has tube doors available through Mopar's accessories division and other aftermarket companies.
This story was originally published on March 28, 2019 and has been updated with new information regarding the 2021 Bronco's potential doors.


