News
Reviews
Buyer's Guide
Videos
What's My Car Worth?
Events
Ask MOTORTRENDBeta
Return to Article
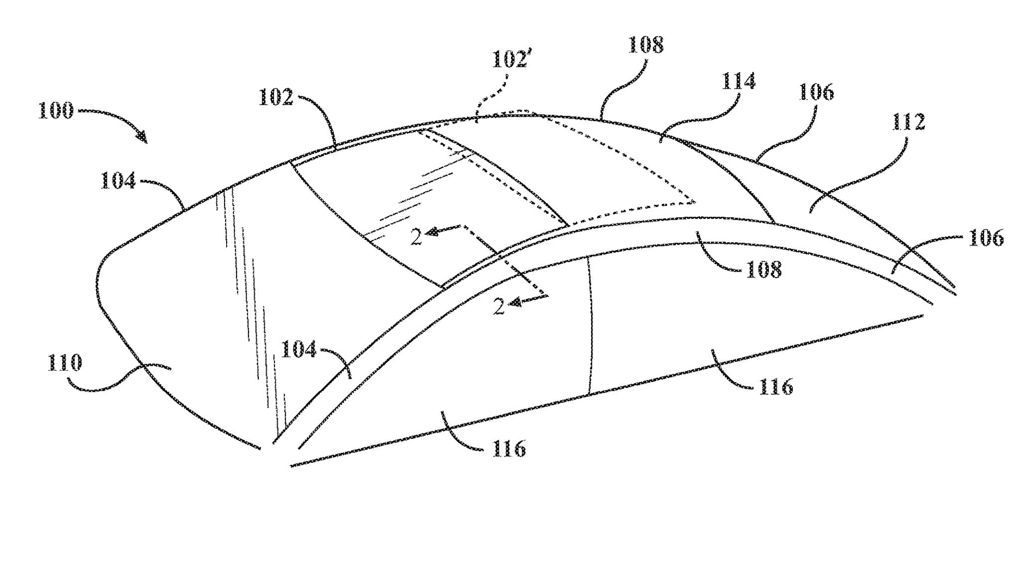
It's more than a just a sunroof. It's a sign the Apple Car is real.
(1 / 21)