The Apple Car Will Have a Damn Fancy Sunroof
It's more than a just a sunroof. It's a sign the Apple Car is real.
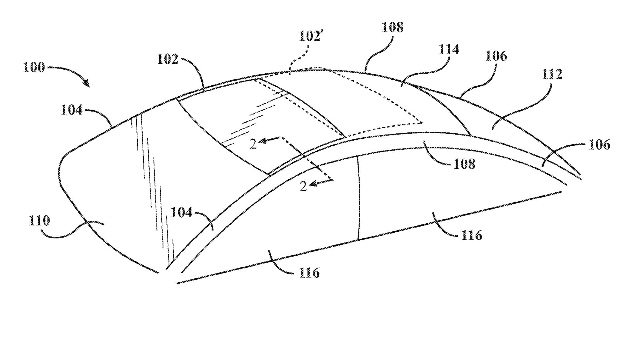
Just one day after we published our second bite at the Apple Car, complete with designs for what we figure the tech giant's futuristic automobile might look like and informed speculation as to what it'll be capable of, a seed of proof that such a car is being worked on has sprouted from the U.S. Patent and Trademark Office. Published today, a fresh patent granted to Apple for a new-style sunroof—yes, for acar—indicates the company's erstwhile vehicle is progressing through development.
The Apple Car project is not new, nor did we unveil it this week with our peek into what it could become. This vehicle has been years in the making. Heck, we first tried our hand at imagining the Apple Car way back in 2016, to a mixed reception. For our latest take, we looked at the evidence that Apple has hired automotive engineers, designers, and the like and put the man who helped usher the Apple Watch to commercial success in charge of the project.
Since then there have been rumors that Apple might partner up with a mainstream automaker to help it produce its sleek new car, rumors the Apple Car was dead before arrival, rumors, rumors, rumors, despite all indications pointing to Apple clearly weighing the idea of its own car. Why all the hullabaloo? Because a self-driving electric car from Apple, leveraging the company's end-to-end user experience—integrated software, hardware, and app ecosystem—is just too juicy to resist, and portends a massive incursion into peoples' daily lives by a company they're already seriously entwined with (okay, sorry, Android users). An Apple Car would become an immediate extension of Apple's universe into the physical realm, and a super-integrated transportation option for millions.
0:00 / 0:00
So, a sunroof patented by Apple is hardly "just a sunroof." It's only the latest breadcrumb to fall from the company's secretive automotive project. (Per the U.S. Patent Office, this particular patent was originally applied for in 2016, before being modified in October 2020.) Now that we've established, yet again, that Apple Car is definitely a thing, what's so special about this newly patented sunroof, besides it being proof the Apple Car project is alive and kicking? As best we can work out from the typically dense, dry language used in the patent filing, it's a sort of amalgamation of different sunroof technologies already circulating. This is, of course, classic Apple—not exactly inventing a new idea, but honing current ones to a fine point.
The Apple sunroof thus appears to combine the basic attributes of an openable sunroof (i.e., a panel that separates from the surrounding roof and either lifts or slides back and away to create an opening) and a variable-opacity glass window, much like Mercedes-Benz's Magic Sky roof tech that's existed for years. With Magic Sky, users could electronically vary the translucence of a glass roof panel, from fully transparent to cloudy/opaque, sans any moving shades or covers. We don't recall the tech being integrated with an opening sunroof panel specifically (it was, however, fixed in place on a panel that folded up with the rest of the hardtop on the SLK), which is where Apple's patent seems to slide in. The patent also mentions this sunroof opening in sequence with side windows/doors, another possible point of separation.
Where the new roof design slides into Apple's future car plans is less certain. Unsurprisingly, the company doesn't come out and state its intentions in the patent. Even so, we could see the roof development as a choice offered to riders in a future Apple Car. Want some light in the cabin, but want the roof closed? Zap! Want the roof open or cracked for some fresh air, but opaque to block out the sun? You got it. Need more of the car to open up for ingress and egress? The sunroof and doors will pop open simultaneously. We can even imagine Apple already has some catchy, obvious name in the wings for this feature: Apple Sky+ or whatever. Now, let's hope that the rest of the car shows up in a patent filing soon ...
A lifelong car enthusiast, I stumbled into this line of work essentially by accident after discovering a job posting for an intern position at Car and Driver while at college. My start may have been a compelling alternative to working in a University of Michigan dining hall, but a decade and a half later, here I am reviewing cars; judging our Car, Truck, and Performance Vehicle of the Year contests; and shaping MotorTrend’s daily coverage of the automotive industry.
Read More

