News
Reviews
Buyer's Guide
Videos
What's My Car Worth?
Events
Ask MOTORTRENDBeta
Return to Article
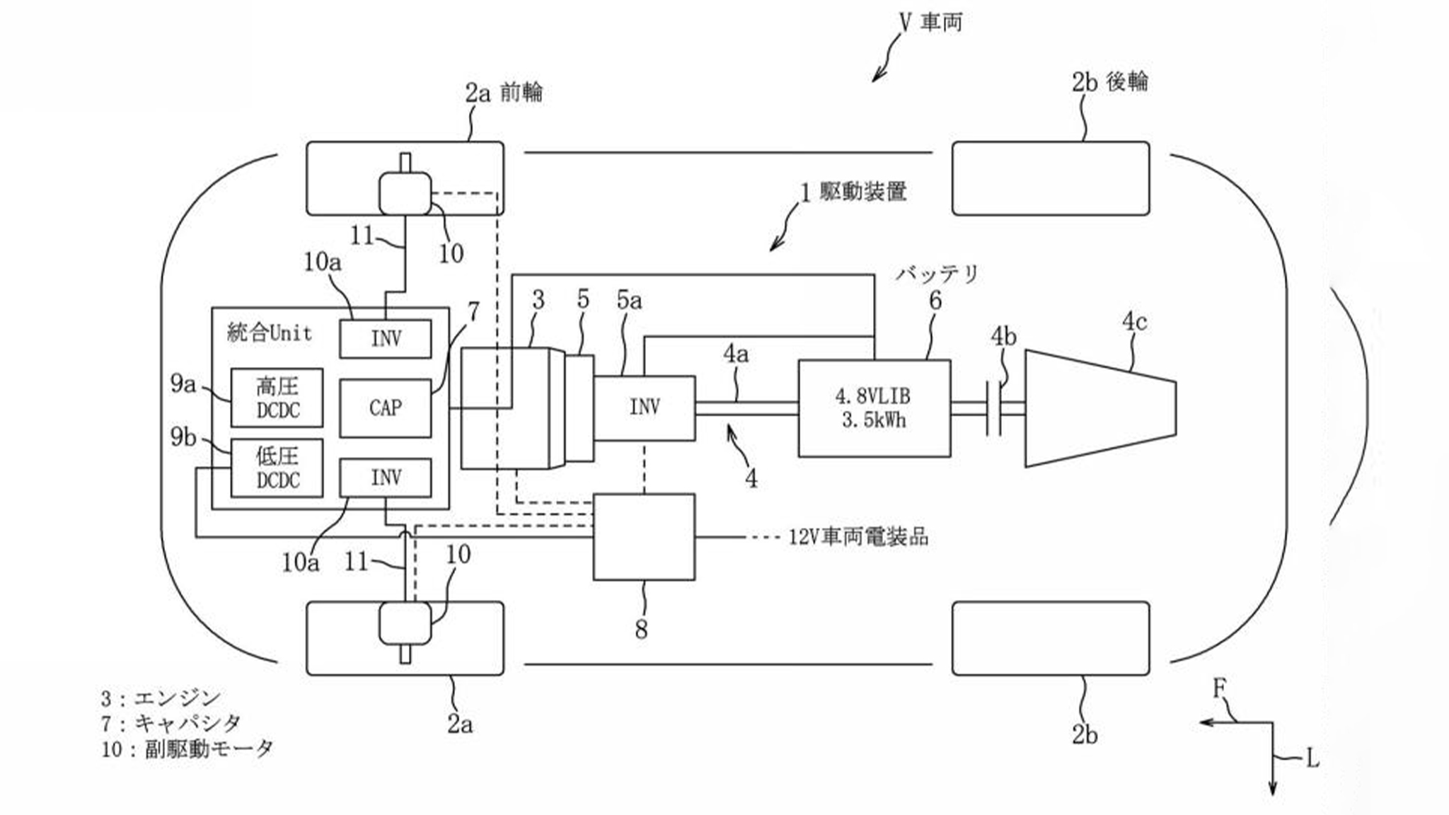
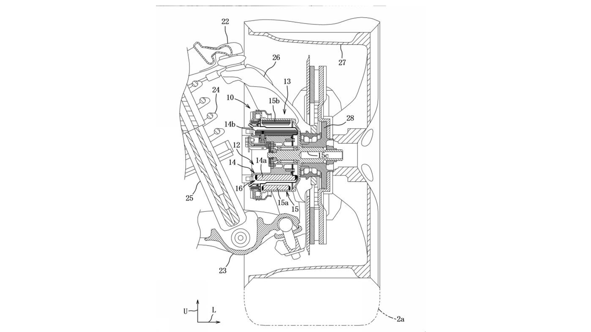
Design incorporates in-wheel motors, a capacitor, and Mazda’s favorite spinning Dorito.
(1 / 68)