Mazda Patent Hints at Hybridized Three-Rotor Rotary for Rear-Drive...Something
Could getting around emissions issues inherent to Wankel-based rotary engines be so simple?
Well, this is quite the surprise of 2022. It looks like Mazda might be trying yetanotherrevival of its rotary engine, following the rotary's return as a range-extender for the MX-30 EV SUV. But with emissions regulations tightening—the key reason for the Wankel engine's demise along with the Mazda RX-8 sports car a decade ago—how does Mazda intend to bring it back as something more than a glorified generator? According to a patent filed June of 2021 and published on January 5, 2022, Mazda wants to incorporate a rotary as the internal combustion component of a hybrid powertrain.
0:00 / 0:00
What The Patent Describes
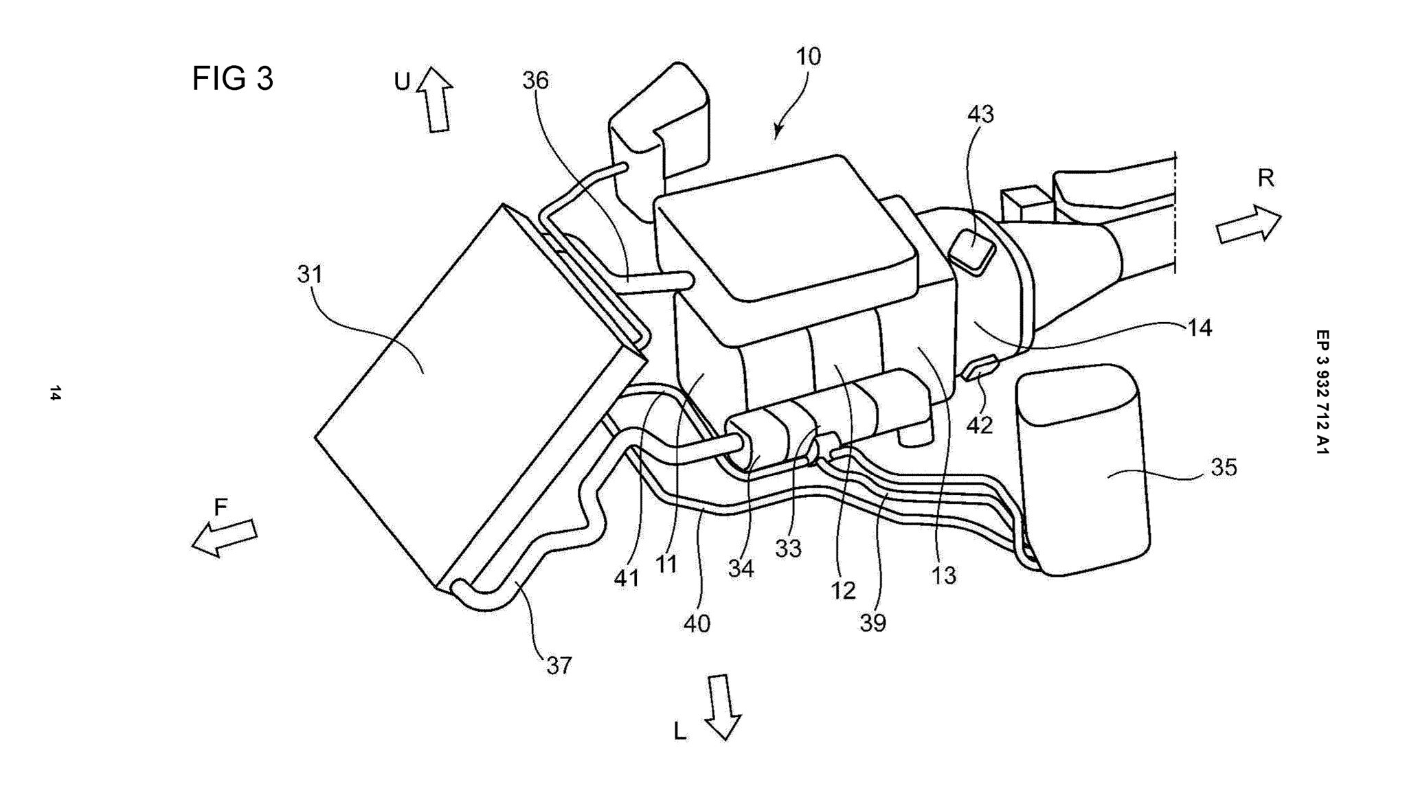
Reading over the 25 -page document, Mazda describes how a rotary engine is better suited for a hybrid layout over a traditional piston-driven ICE unit. Because of its compact nature, the rotary engine can fit into smaller spaces with an electric motor coupled directly to the eccentric shaft. To cool and lubricate the engine and motor, the setup would share the same oil and coolant circuits with their appropriate heat exchanger systems. Power to the motor would still come from a battery located within the cabin space of the vehicle.
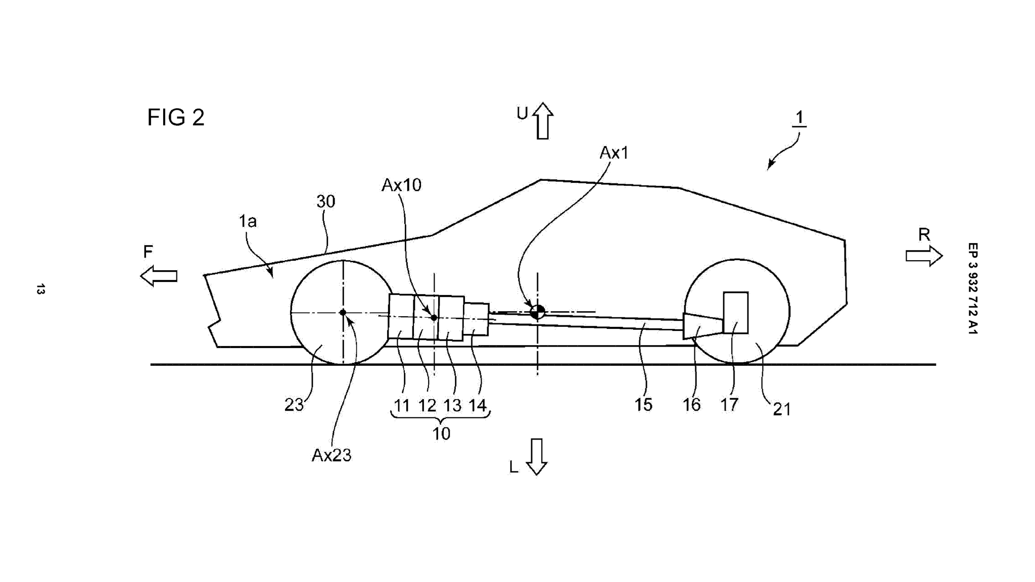
Further, the illustration and description show that there is a propeller shaft leading from the output of the electric motor to a transmission located at the rear axle, hinting at a transaxle configuration in the patent. This would allow Mazda to place the entire powertrain behind the front axle and the drivetrain ahead of the rear axle. It would put all of the heaviest bits in the middle of the chassis for better balance and would have minimal cabin intrusion from the entire setup.
How Do We Know It's A Rotary?
Beyond the illustrations that show it, including the rotor housing in describing the oil passages and of the engine itself? The way Mazda's patent describes how the setup would work is explained, "As illustrated in Fig. 5, the motor (14) in the drive unit (10) is particularly arranged adjacent to a rear side of the engine (13). The engines 11 to 13 and the motor (14) have a direct-coupling structure to share an output shaft. Size D2 of the motor (14) in a direction (a second direction) that is orthogonal to the vehicle longitudinal direction (a first direction) is smaller than size D1 of the engines (11 to 13) in the second direction." As you can see in the figure five illustration, the arrows of 11, 12, and 13 point to each housing. Meaning that not only is a rotary planned but it could even be a three-rotary version like the legendary 20B-REW. It's also impressive to see that the electric motor is potentially smaller than the rotary engine in this patent.
When Is It Coming?
And here lies the rub: just because a patent is filled and published, it doesn't mean that something is coming in the near future or even at all. Even as a hybrid powertrain system, we'd imagine that running a rotary engine is still an emissions intensive process when using gasoline. However, if using it with a cleaner burning fuel such as hydrogen, some of those issues could possibly be solved, while the electric motor could make up for rotaries' traditionally weak low-rpm torque. Unfortunately, the patent fails to mention what type of fuel this triple rotary would use in Mazda's hypothetical hybrid. We'll just have to see the direction Mazda goes and if it will really revive the rotary as a primary motivator for a future front-engine, rear-drive...something. Based on what we know about Mazda's future rear-drive(!) products, there are plenty of possible homes for this patented hybrid device.
Having experience in many forms of the automotive industry, Justin Banner has done more than just write about cars. For more than 15 years, he's had experience working as an automotive service technician—including a stint as a Virginia State Inspector—service advisor, parts sales, and aftermarket parts technical advisor (a fancy way of saying he helped you on the phone when you had trouble fitting your brakes over your aftermarket wheels and the like). Prior to his tenure as a full-time editor, Justin worked as a freelance writer and photographer for various publications and as an automotive content creator on YouTube. He’s also covered multiple forms of motorsports ranging from Formula Drift, drag racing, and time attack, to NASCAR, short course off-roading, and open desert racing. He's best known for breaking down complex technical concepts so a layperson can more easily understand why technologies, repairs, and parts should matter to them. At MotorTrend, Justin is part of the news team covering breaking news and topics while also working as a judge for MotorTrend Of the Year events and other major comparison tests.
Read More



