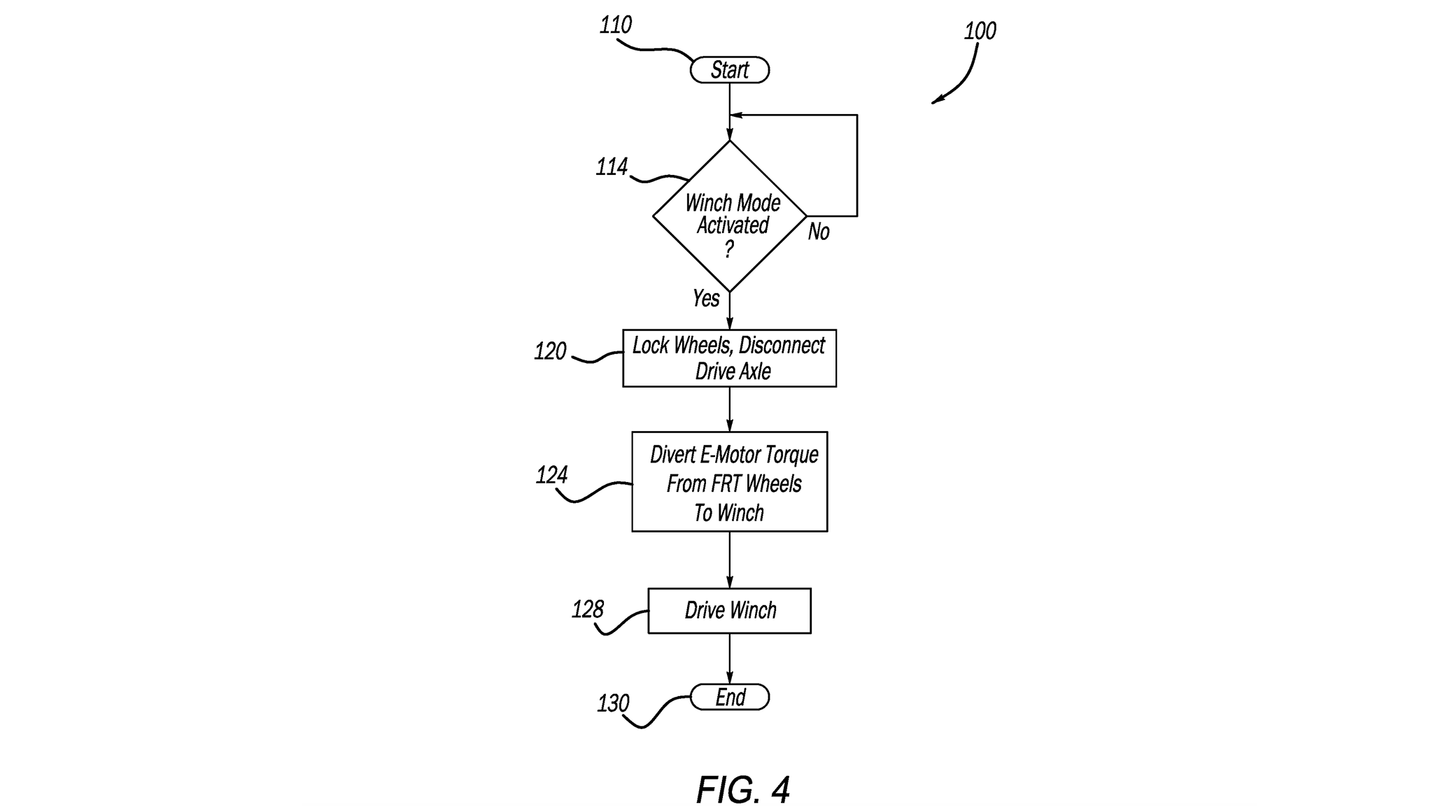
Your Next Jeep EV Could Have a Badass, Powerful Hidden Winch

An FCA patent application shows how future EVs could leverage hardware they already carry to make an onboard winch lighter and more powerful.

ev motor stellantis lead
2015 SEMA Show Monday 1946 willys cj 2a farm truck
mfcr event 1958 fc170 koenig model f198t winch
Screenshot 2025 02 04 at 14 08 12
007 2024 jeep willys ev dispatcher concept
Jeep Wagoneer S EV Trailhawk 1
Jeep Wagoneer S EV Trailhawk 2
Jeep Wagoneer S EV Trailhawk 3
Jeep Wagoneer S EV Trailhawk 5
Jeep Wagoneer S EV Trailhawk 6
Jeep Wagoneer S EV Trailhawk 7
Jeep Wagoneer S EV Trailhawk 8