News
Reviews
Buyer's Guide
Videos
What's My Car Worth?
Events
Ask MOTORTRENDBeta
Return to Article
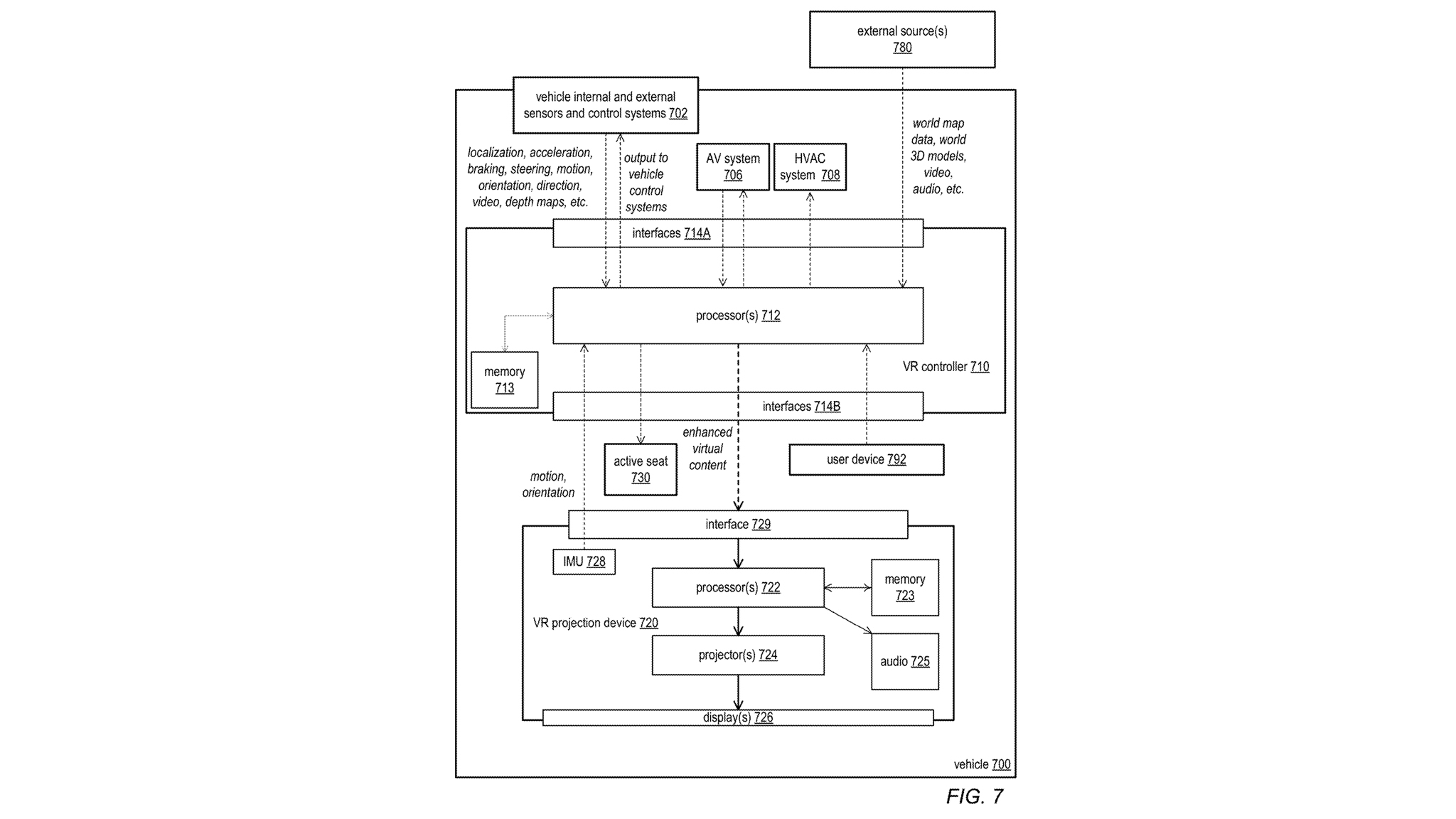
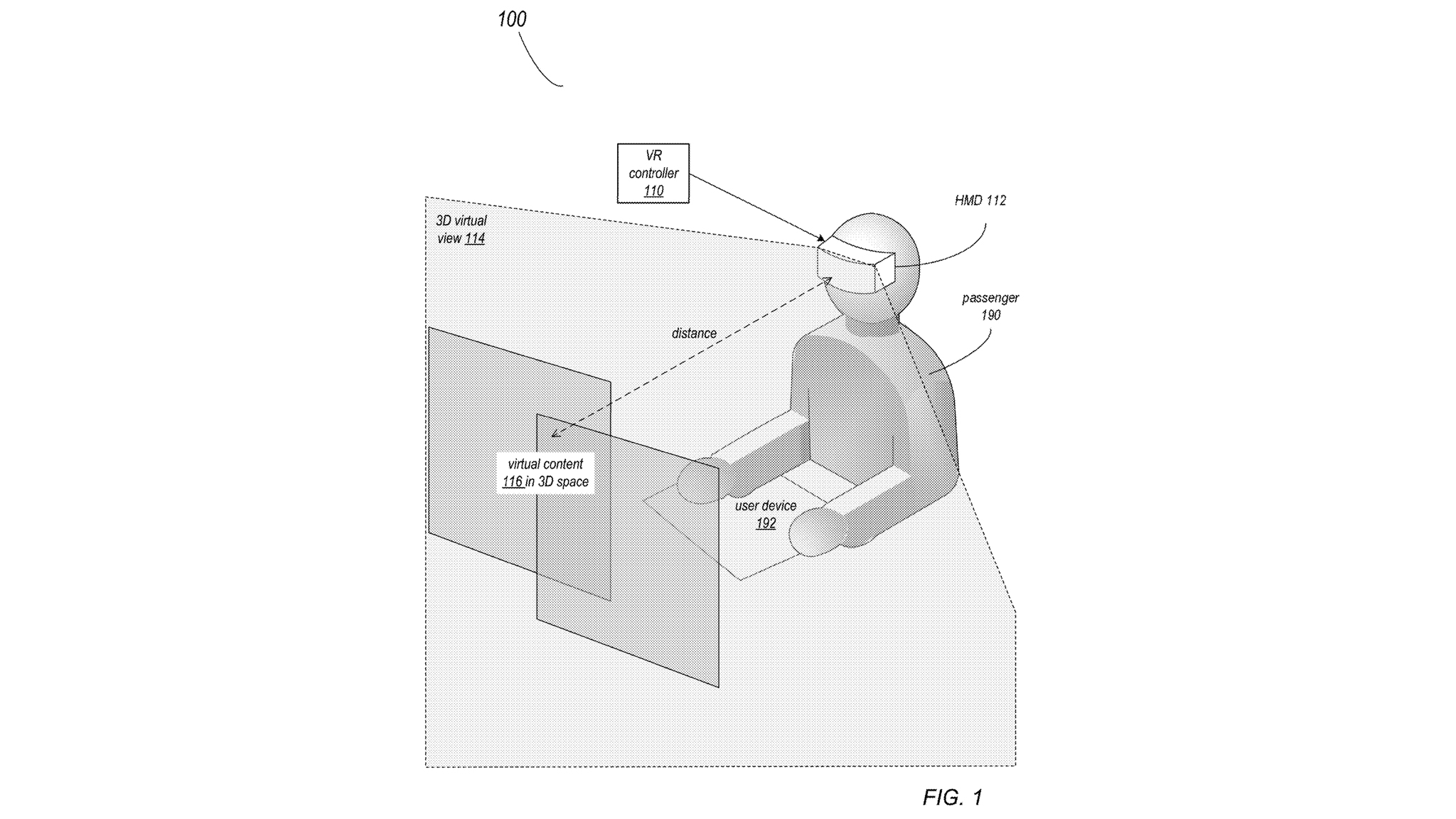
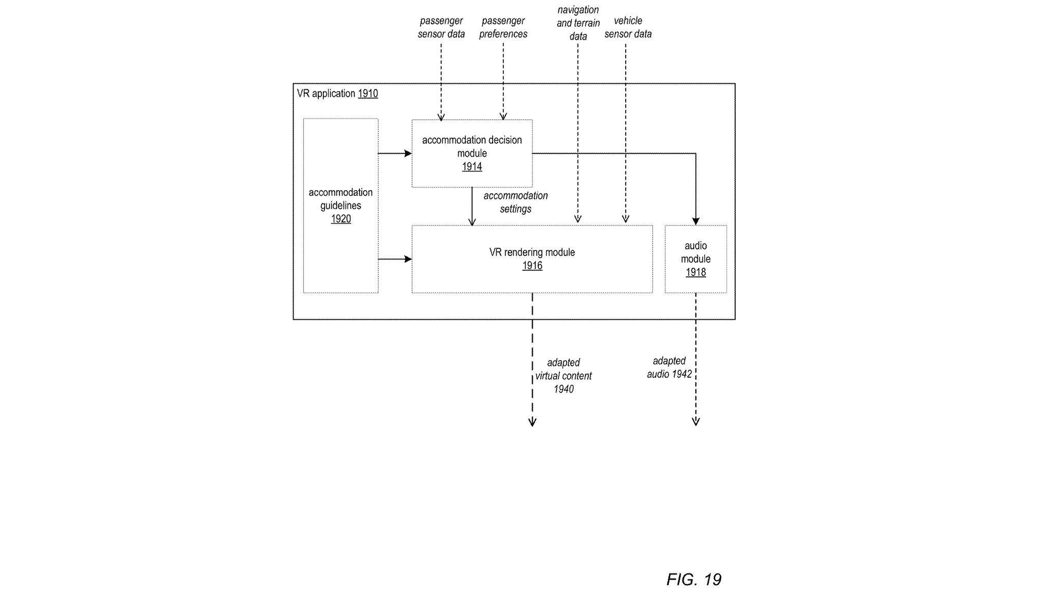
Forget medication or facing down the direction of travel—why not try on some altered reality?
(1 / 19)