News
Reviews
Buyer's Guide
Videos
What's My Car Worth?
Events
Ask MOTORTRENDBeta
Return to Article
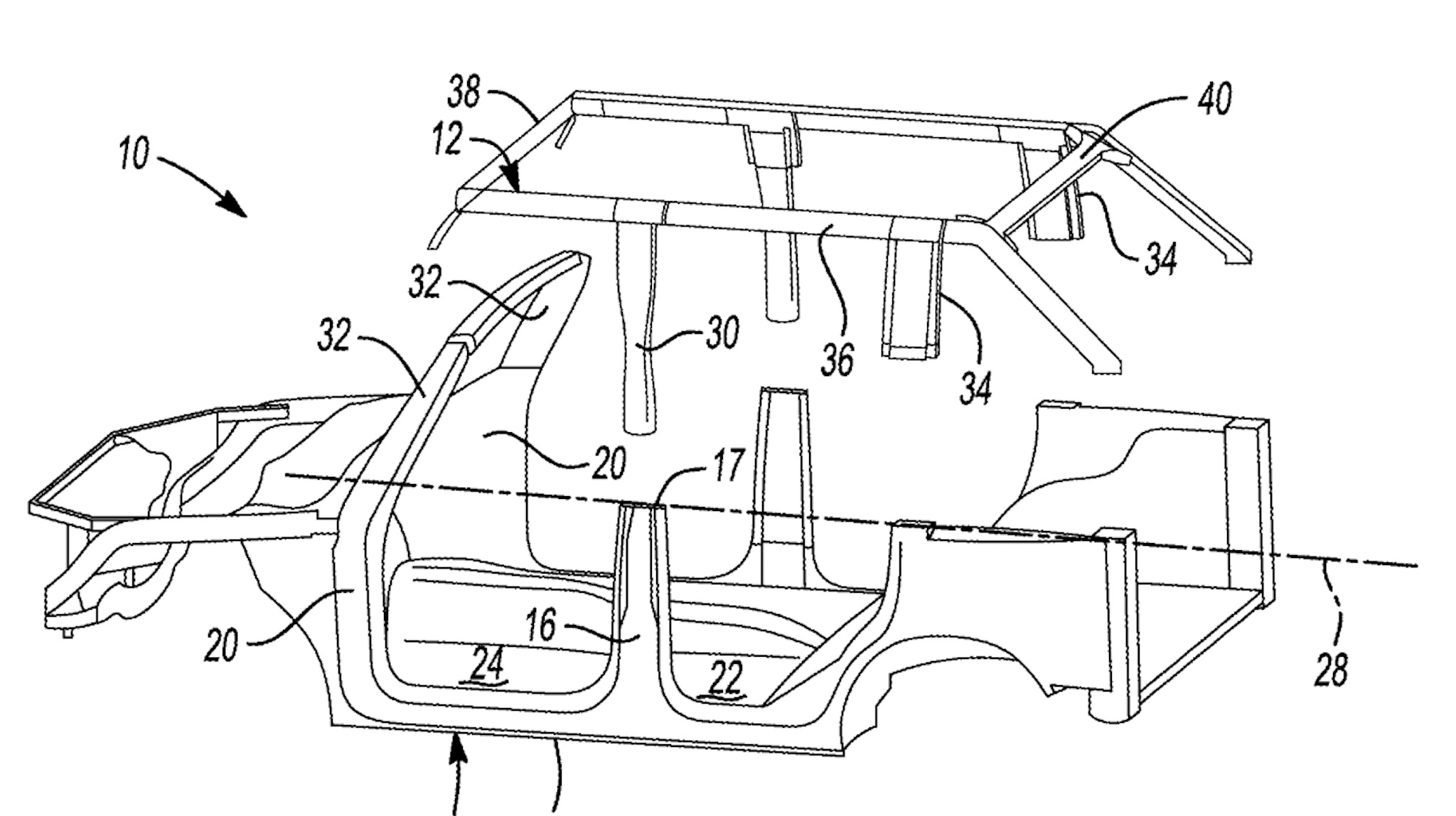
More of the Bronco’s lid will be removable, making it more complicated than the one on the Wrangler.
(1 / 17)